高速機械密封見圖9一36所示,適用于大軸徑及轉速高達10000r/min的情況。由圖中可知,該密封結構的旋轉環(動環)由止推軸承定位,由鍵傳遞轉矩。旋轉環的浮動性好。此結構有兩個優點:
①可使其旋轉摩擦面的位置不致因泵軸的伸縮而發生變化。由于泵軸的制造誤差所造成的高頻率振動都會被旋轉環(動環)的輔助密封圈所吸收,不致傳到摩擦端面處,否則,容易造成密封面因補償環的慣性作用而分離開來。
②泵軸作軸向移動(如熱脹冷縮),可以通過軸套對旋轉環0形圈而滑動,不會引起補償環彈簧的長度變化,所以在密封面的彈簧力總是維持不變。
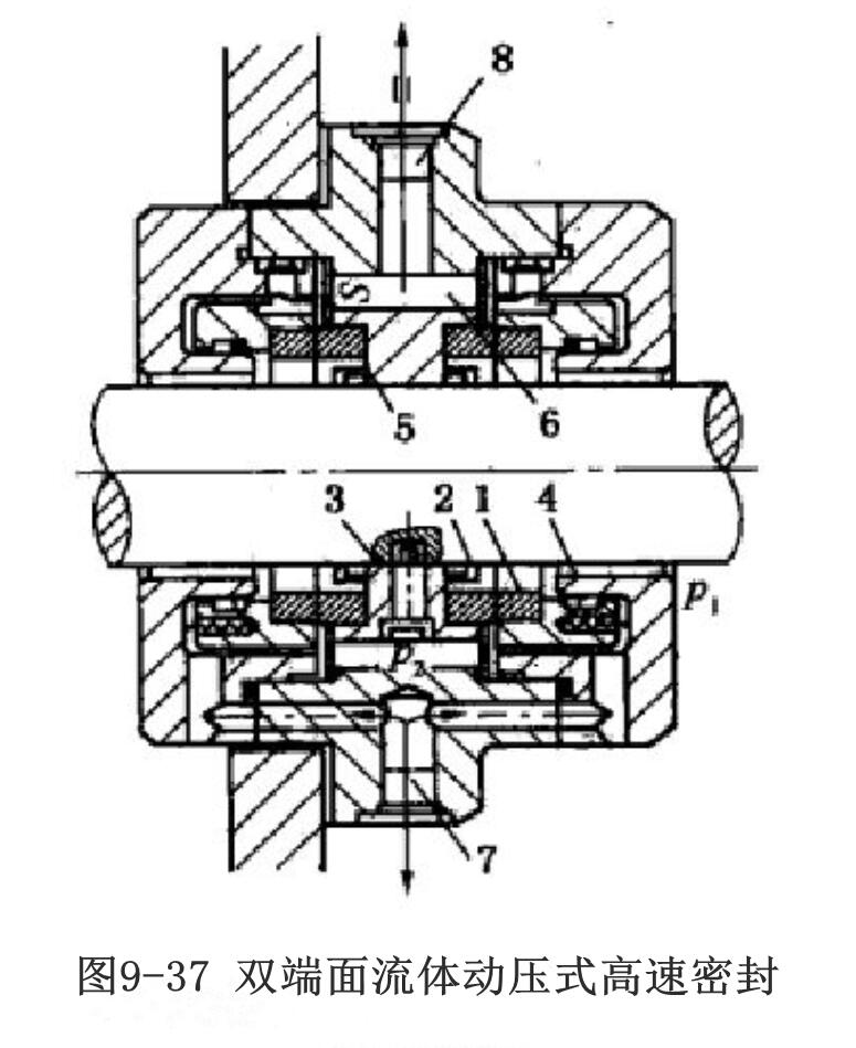
二、雙端面流體動壓式高速密封
雙端面流體動壓式高速密封如圖9一37所示。該種密封結構中旋轉環(動環)的運轉很平穩,而且靜環(石墨環)在運轉中能自行調整。不過,在選擇封液時,希望封液的貓度低、氣體吸附性低以及低的結焦量并且保證在高溫工作條件下密封液在蒸發時不留殘渣,如聚乙二醇的合成介質。
高速密封的冷卻液的流量是很大的,約為50一100L/min。在該裝置中,由于泰勒渦流形成的紊流損失大大超過了密封面摩擦所造成的損失。因此,旋轉空間6與密封裝置的殼體間應當有一定的間隙(約為7.5一10mm),高于或低于這個數值都會增大禍流損失。
在圖9一37所示的密封結構中,使用的密封油薪度為25mPa.S(在50℃時),其渦流損失相當于15kw。值得注意的是,用于高速密封結構的任何一種油,都不應起泡或吸附氣體,因為液體和氣體的比重大不相同,常常在密封環的外圍形成氣泡區域,從而導致密封環的過熱和干摩擦。所以在投運前應當把氣體排凈。
在高速泵用機械密封中,除了要求足夠的機械強度外,還需考慮材料的力學性質,高速密封的主要危險是氧化、熱應力裂紋、熱變形和因高速引起的高熱,以及由此產生的介質在密封縫隙中的結垢或沉積。
聯系人:陳杰
電話:0335-3066990
手 機:13933669906
郵箱:chenjieaa@yeah.net
公 司:秦皇島市旅特機電設備有限公司
地 址:秦皇島市海港區新世紀小區18棟2-8號